知识产权一站式服务
让创意创造价值
全国咨询热线:
15517851322
24小时服务热线:
15517851322
网站首页
专利申请
高新认定
国际专利
资讯中心
美国专利
欧盟专利
韩国专利
日本专利
热门关键词:
发明专利
外观专利
实用新型专利
防御专利
关键专利
核心专利
知识产权贯标
专利维权
您的位置:
主页
>
资讯中心
>
常见问答
>
资讯中心
新闻动态
常见问答
合作客户
咨询热线
15517851322
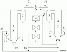
一种耦合双流化床低氮燃烧装置及方法与流程
"> 本发明属于煤清洁高效燃烧技术领域,具体涉及一种耦合双流化床低氮燃烧装置及方法。 背景技术: 中国是世界上最大的煤炭生产国和消费国,2019年煤炭产量达到37.5亿吨,占一次能…
了解详情
内旋火防干烧燃烧器及应用其的燃气灶具的制作
"> 本发明属于燃烧器技术领域,具体涉及内旋火防干烧燃烧器及应用其的燃气灶具。 背景技术: 内旋火式的燃烧器在燃烧时能够形成由燃烧区域边缘向内旋转的火焰,燃气的旋转过程增…
了解详情
自调式燃烧机的制作方法
"> 本发明涉及生物质燃烧设备领域,尤其涉及一种自调式燃烧机。 背景技术: 燃烧机也叫燃烧器,按照使用对象分为窑炉燃烧机和锅炉燃烧机,通常来说,人们常说的燃烧机指的就是锅…
了解详情
一种用于燃烧器的导气板以及应用有该导气板的
"> 本发明涉及家用厨具领域,尤其涉及一种用于燃烧器的导气板以及应用有该导气板的燃烧器。 背景技术: 目前,燃气灶的火盖通常包括有内环火盖和外环火盖,其对锅体的加热方式基…
了解详情
一种具有提高燃烧效率的燃烧器的制作方法
"> 本发明涉及燃气灶具的燃烧器,尤其涉及一种用于燃气灶的燃烧器。 背景技术: 目前,燃气灶的火盖通常包括有内环火盖和外环火盖,其对锅体的加热方式基本都是外部环形火焰和内…
了解详情
一种危险废弃物的无害处理装置的制作方法
"> 本发明涉及危险废弃物处理技术领域,尤其涉及一种危险废弃物的无害处理装置。 背景技术: 危险废弃物是指列入国家危险废物名录或者根据国家规定的危险废物鉴别标准和鉴别方法…
了解详情
上一页
3982
3983
3984
3985
3986
3987
3988
3989
3990
3991
3992
下一页
QQ咨询
拨打手机
15517851322
在线留言
微信扫一扫
返回顶部